本文主要针对RAKsmart美国服务器洛杉矶机房E5-2620*2方案进行详细的速度和性能评测,评测同款配置为E5-2620*2 CPU、32G内存、1T HDD存储、大陆优化VIP(不限流量) 100M带宽和1个IP地址。评测内容包括CPU硬件、硬盘读写、上传/下载速度、去程/回程、跑分和延迟等,评测数据仅供参考。
RAKsmart官网:点击直达
| CPU | 内存 | 硬盘 | 宽带 | 流量 | IP | DDoS防御 | 价格 | 购买链接 |
| E5-2620 | 32G | 1T HDD | 100M | 不限流量 | 1IP | 可选 | $89/月 | 点击购买 |
| E5-2650 | 32G | 1T HDD | 100M | 不限流量 | 1IP | 可选 | $94/月 | 点击购买 |
| E5-2680 | 32G | 1T HDD | 100M | 不限流量 | 1IP | 可选 | $99/月 | 点击购买 |
| E5-2690 | 32G | 1T HDD | 100M | 不限流量 | 1IP | 可选 | $104/月 | 点击购买 |
| E5-2697 | 32G | 1T HDD | 100M | 不限流量 | 1IP | 可选 | $109/月 | 点击购买 |
| E5-2620*2 | 32G | 1T HDD | 100M | 不限流量 | 1IP | 可选 | $109/月 | 点击购买 |
| E5-2650*2 | 32G | 1T HDD | 100M | 不限流量 | 1IP | 可选 | $114/月 | 点击购买 |
| E5-2680*2 | 32G | 1T HDD | 100M | 不限流量 | 1IP | 可选 | $119/月 | 点击购买 |
| E5-2690*2 | 32G | 1T HDD | 100M | 不限流量 | 1IP | 可选 | $124/月 | 点击购买 |
一、硬件性能
RAKsmart美国洛杉矶裸机云服务器硬盘读写出来的处理器为Intel Xeon E5-2699 v4(2.20GHz 、24核心),机房位于美国洛杉矶。

二、上传下载速度测试
本次评测的RAKsmart美国洛杉矶裸机云服务器为100M带宽,上传速度接近100Mbit/s在意料之中。

三、Ping延迟测试
海外地区Ping延迟测试如下,最快的是北美洲洛杉矶仅1ms,最慢的是非洲南非地区的319ms,海外平均延迟为142ms。


四、丢包测试

七、去程路由测试
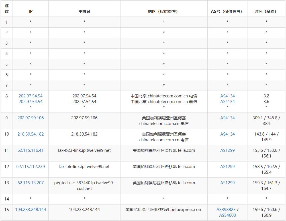
1、电信去程
电信去程通过202.97开头的优化线路直连美国加利福尼亚州。
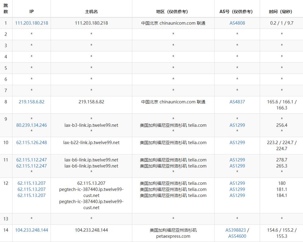
2、联通去程
联通去程经AS4837一条线路直连至美国加利福尼亚州洛杉矶。

3、移动去程
移动去程经AS56048 /A59808到上海再到美国洛杉矶,也算是国内直连了。

八、回程路由测试
1、电信回程

2、联通回程

3、移动回程

九、跑分测试
在本次评测的24个CPU中运行1个CPU的测试结果如下,得分为1024.6,单核表现如此可见其性能可观。

